

根据广东省教育考试院公布的考试日历,2026年4月自学考试报名报考报考将于2月26日开始(具体时间安排若有所变动,以广东省考试院通知为准),有意向提升学历一定不要错过。
一、2月招生考试日历

(广东省教育考试院)

PS:如果对自考报名时间、报考流程、考试安排、专业介绍、院校选择、课程顶替、成绩记录等问题,可以识别下方二维码向小姚老师咨询↓↓↓

二、4月自考开考课程
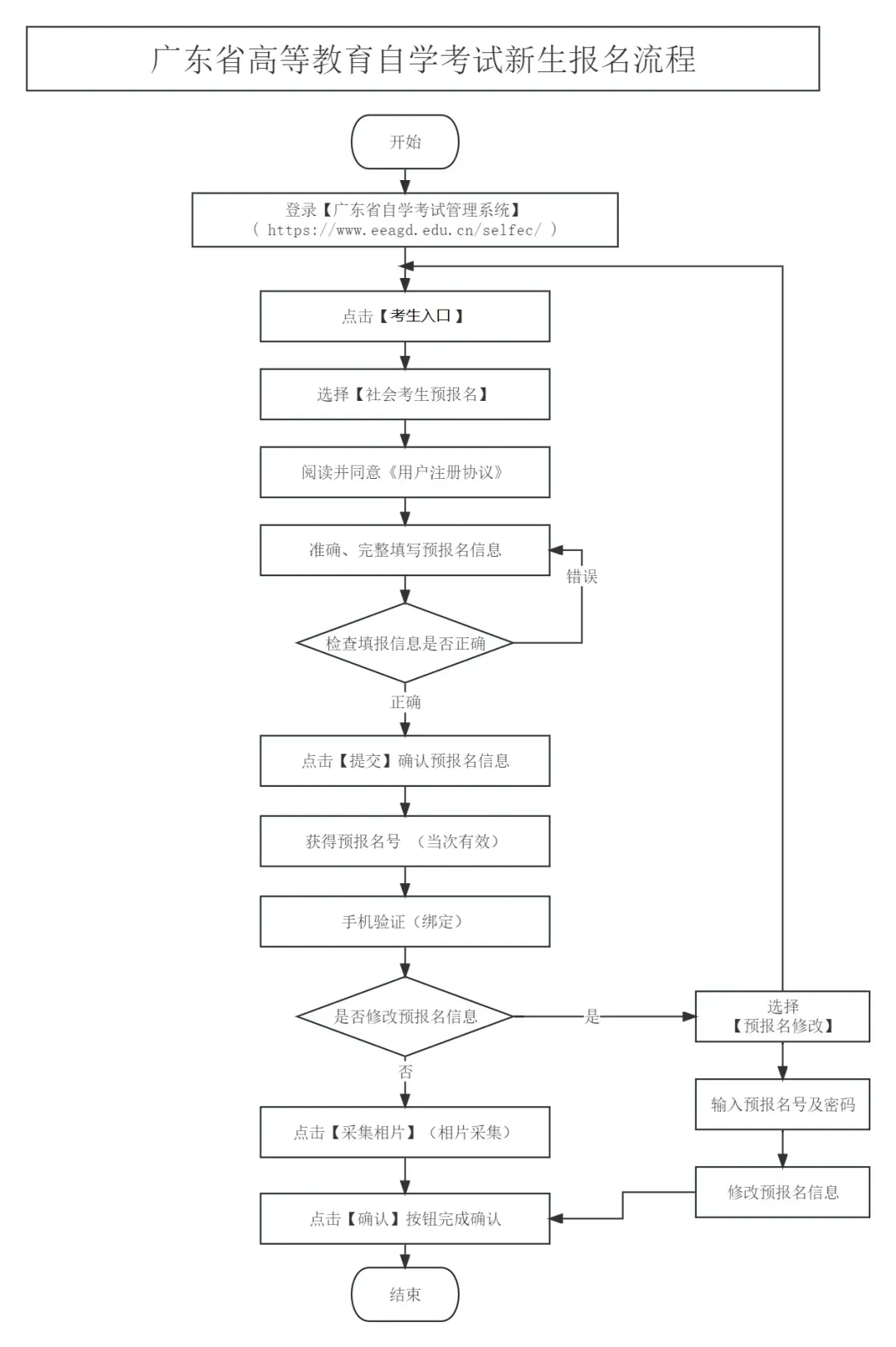
新生报名分预报名和正式报名两个阶段。
1.预报名。新生通过广东省自学考试管理系统,从【考生入口】通道进行预报名。预报名时考生须录入个人信息并设置个人密码,预报名成功后将得到唯一的预报名号,预报名号仅当次有效。考生预报名成功后还须完成本人手机绑定及相片采集才能进行正式报名。
2.正式报名。本次正式报名全部网上进行,考生须凭当次预报名号,在规定时间内进行确认操作,完成正式报名(相片采集)。正式报名成功后将获得唯一准考证号,所有考生务必牢记。

二、自考报考流程
考生报考。所有考生须通过广东省自学考试管理系统的【考生报考】通道报考课程,并进行网上缴费。考生报考时如未绑定联系手机,则须先完成本人手机绑定方可报考,需要修改已绑定手机的也可通过报考菜单栏的【手机绑定】功能进行解绑和重新绑定。无法自行解绑手机的,可到考区所在地市自学考试办公室或其指定单位解绑。

2026年4月自考预报名开始
还不知道自考如何报名?
点击下方小卡片
↓免费获取在线老师指导↓

三、自考专业推荐
✅ 优势:考试科目少、通过率高,适合零基础考生。✅ 就业方向:公务员、事业单位、企业HR、行政管理岗。
✅ 优势:纯文科专业,不考数学,适合喜欢文学、写作的同学。✅ 就业方向:教师、编辑、新媒体运营、文案策划、公务员(如文秘岗)。
✅ 优势:课程实用,涵盖管理、经济、营销等,适用面广。✅ 就业方向:企业管理、市场营销、人力资源、创业等。
✅ 优势:国家政策支持,就业缺口大,适合喜欢教育行业的考生。✅ 就业方向:幼儿园教师、早教机构、儿童教育咨询等。
✅ 优势:不考数学,课程简单,适合想快速拿证的同学。✅ 就业方向:HR、招聘专员、培训管理、人事行政等。
自考热门专业以及主考院校推荐
2026年4月自考不知如何选院校、挑专业?可参考以下热门专业和院校,也可以点击此处【 在线咨询通道】匹配你的专业,或者扫码咨询老师哦。专业团队全程指导,助你顺利拿到毕业证书!

下方阅读原文,在线咨询老师吧!